Sprache: DE
Beratung
Ihre Offerte 0
    Details
      • Ja
      • >35-50 mm2 AWG 1
      • 477
      • verzinnt
      • ohne
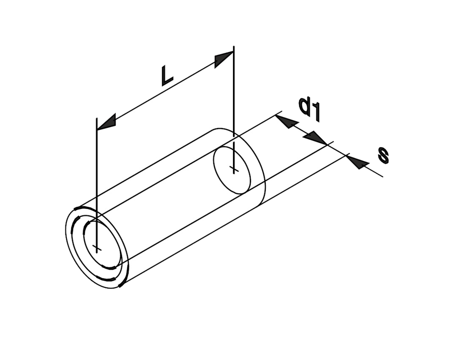
      • 1.8/11.0/0/0/0/16.0 mm
      • Parallelverbinder
    Technische Unterlagen

    Varianten

    zurück